最近发现的一项专利显示,美国跨国娱乐和媒体集团沃尔特·迪斯尼公司(Walt Disney Company)获得美国专利商标局(USPTO)的“虚拟世界模拟器”专利批准。模拟器由“真实世界场馆几何结构的三维(3D)地图”组成。
迪士尼对元宇宙和区块链技术的兴趣最近有所体现,12月底批准的一项最新专利披露了这家娱乐巨头申请的“虚拟世界模拟器”概念。
虚拟世界模拟器专利在十一月迪士尼CEO Bob Chapek的财报电话会议上公布,公司已经准备好了,迪士尼始终处于最新技术的前沿。
Chapek在财报电话会议上说:迪斯尼公司在使用技术方面有着悠久的历史,以增强娱乐体验。
迪士尼首席执行官补充道:
到目前为止,我们的努力只是一个序幕,我们将能够更紧密地连接物理世界和数字世界,在我们自己的迪斯尼元宇宙中实现无边界的故事讲述,我们期待着为消费者创造无与伦比的机会,让他们体验迪士尼在我们的产品和平台上提供的一切,无论消费者在哪里。
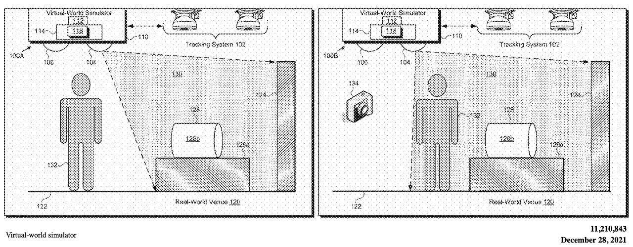
迪士尼提交的美国专利#11210843解释说,虚拟世界模拟器具有一个计算协议,其中包括一个硬件处理器和存储软件代码的内存。该协议还通过计算机或手持设备跟踪用户,以便使用真实迪士尼场馆的几何图形地图执行操作。

控制装置或手持设备能够通过将识别出的一个或多个虚拟效果与真实世界场地的几何结构相一致,从跟踪移动视角的当前有利位置模拟虚拟世界。
从本质上讲,这项技术是迪斯尼位于世界各地的12个主题公园之一的**品。由于2019冠状病毒疾病的流行,该公司可能会在交付虚拟体验方面做出重大贡献,以弥补因关闭主题公园而导致游客流失的收入。
根据2021年2月的统计数据,迪士尼在大流行期间损失了26亿美元的交易额,而该公司最近才在2021年8月再次开始盈利,然而,迪士尼可能会暂时搁置虚拟世界模拟器的概念,因为该公司告诉《洛杉矶时报》,它目前没有启动虚拟世界的计划。