9月底,央行为缓解节前叠加三季度末市场流动性紧张,23日,央行连续第3个交易日开展14天逆回购操作,当日净投放1000亿元。据统计,9月16日至今,央行已释放1.42万亿元流动性,扣除到期的5350亿元逆回购和MLF,累计净释放流动性8850亿元。而这一切都是为了避免季度末市场可能的“钱荒”。
27日,银行间市场上隔夜利率指标如Shibor、DR001等纷纷跌至1.3%附近,回到历史低位水平。
显示央行的及时出手避免了一次可能的“钱荒”,以过往季末资金面出现紧张不同,本次钱出现了罕见的“便宜”。
所谓年末季度末钱荒,说白了就是银行体系内的资金紧张,使得银行能放贷的钱越少,企业借到的钱也就越少,企业的钱少了,就只能减小支出或者降杠杆,原本1亿的资产撬动5亿在运作,现在只能借到1亿,所以影响市场流动性的因素是很复杂的。
其实流动性紧张在其他国家也很常见,但咱们更为特别,原因如下:
1、央行对商业银行的准备金、资本充足率等指标的考核时间与季度末和年末正好吻合,而银行为了“通过考试”,也都会让货币回流以便达标,因此造成市场上暂时的流动性不足。再加上税收制度以及节假日 虽然金融机构都会对此提前做好准备,比如同业拆借,但像这次季末叠加节假日的因素,依然会对银行间市场流动性造成比较大的冲击。
2、央行和高层对于去杠杆的态度,很大程度上也会影响市场流动性,就拿金融机构来说,如果流动性宽松,机构的资金来源则会过度依赖拆借同业资金(加杠杆的过程),所以既然高层定了调,那么短期内一定不会变,释放流动性只是暂时性的,总体趋势还是在收紧。
当然流动性还会受机构融资、国际资金流向等其他因素影响,但这些因素在短期内,尤其是季末年末这种时段所产生的效应非常小。
如果市场出现钱荒,投资者有什么赚头?
按照往常的习惯,如果资金面出现紧张,往往是布局国债逆回购之时,主要原理如下:
市场钱荒,流动性趋紧,钱的价格,也就是利率便会上行,而一般市场利率上行,往往利好国债逆回购,指数基金,货币基金和银行理财。
1、国债逆回购。所谓的国债逆回购,就是咱们把自己闲置的钱通过国债回购市场,借给需要资金的金融机构,作为对价,这些机构则把手中的国债等有价证券抵押给我们。
而逆回购这三个字的含义是,机构是回购方,在未来某段时间内(到期后)买回我们手中抵押的有价证券,并支付相应利息。
那么市场流动性紧张的时候,很多机构都想要借钱都要借钱,小A出5%的利息,小B出6%的利息,那么逆回购的利率便会水涨船高,最终价高者得,而这对我们投资者是非常有利的。



收益方面,目前市场上国债逆回购品种有很多,期限1天至半年不等,在年末或春节等特殊时段,有的逆回购收益率短期内甚至可超过10%!
比如2017年五一节前,上交所一天期国债逆回购品种(204001)盘中最高涨幅为380.59%,成交价为17.830,即年化收益率为17.83%,也就是说你以17%的利率买了1天的逆回购,就相当于你以17%的年化利率把钱借出去1天,假设你的本金是10000元,那么你一天的收益就接近5元(10000*17%*(1/365)=4.66元)!
当然有时候其他品种收益率在节前也会超过10%,如果你买了7天期的逆回购,那就相当于你在国庆假期每天的收益是10000*10%*(7/365)=19.18元,7天就140多块了。
风险方面,国债逆回购标的是国债,有国家信用背书,不会出现违约,等同于无风险。所以投资国债逆回购的这种短期高收益,也就是难得的无风险高收益了。
目前,国庆前可操作的逆回购包括:9月26日,操作2天期、3天期和4天期国债逆回购,可计息11天,9月30日资金可用,10月8日资金可取;9月27日,操作1天期、2天期和3天期国债逆回购,可计息8天,9月30日资金可用,10月8日资金可取。
逆回购交易也很简单,参与逆回购须有股票账户,在股票账户中选择“卖出”,输入代码和交易数量即可。目前上交所逆回购的**门槛为10万块;深交所为1000块。
2、货币基金。首先,当流动性趋紧,市场利率上扬时,货币基金收益率也会水涨船高。尤其是在这种季末年末时,宝宝类货币基金的7日年化收益往往都有短期的翘尾效应,比如天弘余额宝。

不过在买货基时,咱们会经常遇到申赎需要好几个工作日,错过了高收益期怎么办?没关系,有心的投资者可以关注一些场外当天计息的货币基金,计息周期比其他货基多一些,代码一般都以“51”开头,但交易的话需要有专门的基金账户能申购,并不是大多数理财APP都可以随时买到的。
3、指数基金。宏观方面,当市场流动性趋紧时,往往也是指数基金被低估的时候,比如近期大盘的连续阴跌,假如此时买入,节假日如有大利好,节后直接分享利好。
而操作方面,对于基金来说,流动性对于其的影响主要体现在交易和分红。
一方面,大多数指数基金都可以自由买卖,部分指数基金还同时具备买卖和申赎,即“申购-卖出”或“买入-赎回”。然而频繁的流动性所带来的便是交易成本的提高,而交易成本的高低也直接决定了你的基金收益水平,但笔者发现目前天弘指数系列基金系列在申购费和赎回费方面一直维持着低费率优势,申购费仅1折,赎回费的话≥30天为0.05%,是其他基金的1/10左右。
另一方面,分红也是一种非常重要的流动性,尤其是那些打算长期持有某类指数基金或者购买封闭式基金的投资者来说,分红甚至可以说是唯一的现金流。
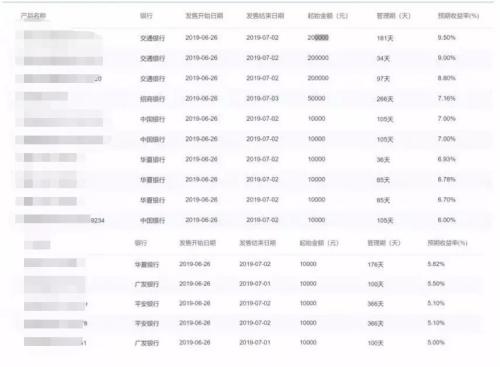
4、银行理财。节假日节点,银行都有揽储任务,比如在今年年中时候,不少银行1万-20万起投的理财收益率均提升了不少,其中有15款的收益超过5%,最高一款预期收益率甚至达到9.5%。

不过,这些在季末和年末高收益的理财,往往都是新发行的产品,对于那些现存的老产品,影响并不大。所以如果要褥羊毛的话,还得时刻关注理财市场动向。
那要论安全性的话,银行理财的风险相比国债逆回购和货基、指基的风险更高些,一是其本身的投资范围就会直接或间接涉及一些实体项目或非标资产;二是2018年初的银行理财违约给人们留下了阴影。不过目前来看绝大多数银行理财都是风险可控的,尤其是大型银行,老百姓不必过多担心。
总的来看,在节假日之前甚至假期间,投资依然可以继续,人放假,钱别放假。如果需要配置排序的话,建议可依次选国债逆回购、指数基金、银行理财和货币基金。
本文源自小白读财经
更多精彩资讯,请来金融界网站(www.jrj.com.cn)
本站声明:网站内容来源于网络,如有侵权,请联系我们,我们将及时删除。